Faros

Reemplazo del foco halógeno del faro
El faro es de tipo semisellado y usa un foco (halógeno) reemplazable. Se puede reemplazar desde el interior del compartimiento del motor sin quitar el conjunto del faro.
PRECAUCIÓN
No toque nunca la envoltura de vidrio.
Tocar el vidrio puede afectar significativamente la vida útil del foco o el desempeño del faro.
1. Desconecte el cable negativo del acumulador.
2. Desconecte el conector eléctrico del extremo trasero del foco.
3. Gire el pasador de retención hacia la izquierda para aflojarlo.
4. Desmonte el foco del faro. No sacuda ni gire el foco cuando lo quite.
5. Instale el foco nuevo en orden inverso al del desmontaje.
Las micas de las luces exteriores se pueden empañar temporalmente por dentro en condiciones de lluvia o al lavar el automóvil. La diferencia de temperatura entre el interior y el exterior de la mica puede provocar el empañamiento. Esto no es una falla. Si se acumulan gotas grandes de agua dentro de las micas, comuníquese con un distribuidor NISSAN.
Luces diurnas automáticas y luces de niebla (solo si está equipado)

Reemplazo de las luces diurnas automáticas y los focos de las luces de niebla
PRECAUCIÓN
1. Desconecte el cable negativo (-) del acumulador.
2. Se puede acceder a las luces diurnas automáticas y a los faros de luces de niebla al frente de la llanta delantera y detrás de la cubierta de la defensa delantera.
3. Quite los sujetadores A ; retire cuidadosamente el protector de la salpicadera delantera.

Tipo A (solo si está equipado)
4. Desconecte el cable negativo (-) del acumulador.
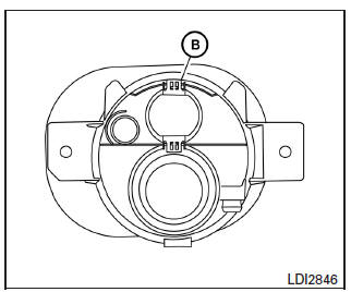
5. Desconecte el conector eléctrico de la parte trasera del foco.
6. Jale el foco de la luz diurna automática B en línea recta para desmontar.
7. Gire el foco de las luces de niebla C hacia la izquierda y jale hacia afuera para desmontar.
8. Instale en orden inverso al del desmontaje.

Tipo B (solo si está equipado)

Tipo C (solo si está equipado)
Luces exteriores e interiores

Consulte siempre la información más reciente sobre partes en el Departamento de refacciones de un distribuidor NISSAN.
* Si se requiere un reemplazo, acuda a su distribuidor NISSAN.


Procedimientos de reemplazo
Todas las demás luces son tipo A, B, C o D.
Cuando reemplace un foco, primero quite la mica, la luz o la cubierta.
Indica remoción del
foco
Indica instalación
del foco

Luces de holgura, posición lateral y direccionales
Para cambiar los focos de las luces de holgura, posición lateral y direccionales, realice lo siguiente:
1. Desconecte el cable negativo del acumulador.
2. Desconecte el conector eléctrico del extremo trasero del foco.
3. Quite el(los) foco(s) y reemplace según sea necesario.

Luz de mapa
Use un trapo para proteger el alojamiento.

Luz interior
Use un trapo para proteger el alojamiento.

Luz de carga
Use un trapo para proteger el alojamiento.

Luz de placa
Para cambiar la luz de la placa, realice lo siguiente:
1. Abra la compuerta trasera.
2. Desmonte el panel de cierre A jalando suavemente el panel de la compuerta trasera.

Luz de placa
3. Gire el portafocos B hacia la izquierda y desmonte del alojamiento C .
4. Desmonte el foco de la placa D del portafocos B.

Luz combinada trasera
Para cambiar el foco de la luz de frenado/trasera, de la luz direccional trasera o de la luz de reversa, realice lo siguiente:
1. Desconecte el cable negativo del acumulador.
2. Quite los dos pernos A para poder desmontar la carcasa B que contiene los focos.
3. Jale la carcasa hacia la parte trasera del vehículo para desmontarla.

Luz combinada trasera
4. Desconecte el conector eléctrico del extremo trasero del foco.
5. Quite el(los) foco(s) y reemplace según sea necesario.
Nissan Note > Reemplazo de la batería
Nissan Note > Ruedas y llantas
Volkswagen Golf > Componentes relevantes para los gases
de escape